Next: Separation between the Spectra
Up: ECHELLE SPECTROGRAPH BASICS
Previous: The Equation of Echellogram
Inclination and Curvature of Spectral Images
Each order spectrum taken with a cross-dispersed echelle spectrograph has an inclination and curvature with respect to the dispersion direction of the echelle grating (Figure 3).
The inclination is caused by the cross-disperser whose dispersion direction is perpendicular to that of the echelle grating in general.
The inclination of the spectrum at a given wavelength is
 |
(5) |
This equation shows that the inclination increases with decreasing order number
, or increasing wavelength.
The curvature is caused mainly because the out-of-plane angle (
) against the cross-disperser varies with wavelength in the beam which has already been dispersed by the echelle grating.
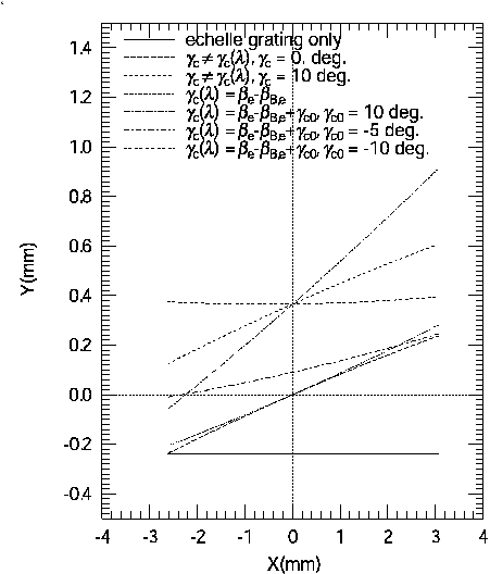
Figure 4 shows the effect of out-of-plane angles on a spectrum.
The out-of-plane angle against cross-disperser is given by
 |
(6) |
where
is the diffraction angle of the echelle grating,
is the diffraction angle toward the optical axis (center of the detector) against the echelle grating,
is the out-of-plane angle toward the optical axis (center of the detector) against the cross-disperser, and
is a pupil magnification between the echelle grating and cross-disperser.
The dispersion angle
can be written as follows,
 |
(7) |
The dependence of
on
is given as follows,
 |
(8) |
When
changes from 0 to
(
),
changes roughly by the following amount,
 |
(9) |
where
is the angular dispersion of the cross-disperser.
Since
is a function of
, the absolute value of
takes its largest values at the both ends of the spectrum at each order. Thus, the spectrum is curved toward the longer wavelength side (
Y) as seen in Figure 4.
When
is non-zero, the whole spectrum shifts to the longer wavelength (
Y) with its inclination changing. When
has a positive value, the spectrum will be steeper, because the absolute value of
increases linearly with
. On the other hand, when
has a negative value, the absolute value of
increases when
and decreases when
. As a result, the inclination becomes gentler and eventually reverses with decreasing
.
Figure 4:
Variation of inclinations and curvatures with the out-of-plane angle of a cross-disperser. The diffraction angle increases with increasing X-coordinate. This graph is calculated with an echelle grating which has the groove number of 24.35 lines/mm and blaze angle of 70
(R2.75) and a cross-disperser which has the groove number of 150 lines/mm and blaze angle of 8
63.
We assumed
.
![\begin{figure}
\lq
\begin{center}
\includegraphics[width=6in]{slope_spectra.eps}
\end{center}
\end{figure}](Timg73.png) |
Next: Separation between the Spectra
Up: ECHELLE SPECTROGRAPH BASICS
Previous: The Equation of Echellogram
Tae-Soo Pyo
2003-05-29