FOCAS Facts Sheets

Introduction

The Faint Object Camera and Spectrograph (FOCAS) is a versatile optical imaging and spectroscopy unit which can be installed at the Cassegrain focus of Subaru Telescope. FOCAS uses refracting optics for both the collimator and camera and uses grisms to achieve high throughput optimized for the wavelength range of 3650-9000 A. It has four operating modes: imaging, spectroscopy (long slit and multi-slit), polarimetry, and spectropolarimetry, and covers a circular 6' field of view.


Overview
body.gif

FOCAS-at-Cs.JPG


General

Location SUBARU telescope Cassegrain focus
Observing modes Imaging, (Multi-) Spectroscopy, Polarimetry
Calibration unit Telescope CAL unit (Th-Ar)
Instrument Exchange Auto exchanger (CIAX)

Optics

Overall Layout

optics.gif
<------- Z+

Lenses 8 groups 14 lenses
Optimized wavelength 365-900nm
FOV 6 arcmin diameter
Total length (Cass. foc. to camera foc.) 1800mm
Transmission 80 (420-900nm)
Pupil diameter 90mm
f(collimator) 1097.7mm
f(camera) 329.4mm
Reduce rate ~3/10
RMS diameter (white) 16micron (on axis), 21micron (edge of the FOV)
Coatings reflection rate less than 1%
Grisms 8 planned, 4 available
R=250~1000 for 0.4 arcsec slits
Filters Broad band: U, B, V, R, I
Narrow band: 8
Order sorting: 4
ADC
The telescope Cassegrain unit contains an ADC unit.
FOCAS uses the ADC unless you need the U data (since ADC has low UV transmission).

Detector

CCD/CCD controller/Dewer cooler

Picture of CCDs

CCD MIT 4KX2K 3-side buttable CCD X 2mosaic
Thinned, back-illuminated
15micron pixel
Image scale ~0.1 arcsec/pix

CCD readout electronics

MFRONT

CCD readout method

Integrated double sampling

Readout modes

Read area

    Whole: Whole CCD area
    Part: Read only around slits

Read speed

    Normal read-out for lower noise readout (5e-)
    Fast read-out with larger noise (10e-)

    ADU/electron conversion factor change according to the read speed

Readout time 15~180 sec depending on read-out mode

CCD control

Messia III -> Messia V (from 2003 Summer)

Cooler 5W Staring

Grism specifications

Name
groove dispersion (at 550 nm) center resolution R
comment

(gr/mm) (A/pix) A (at slitwidth=0.4arcsec)
75
75 5.46 6500 250
very low-disp., available
150
150 2.72 6500 500
low-disp., available
300B
300 1.34 5500 1000
middle-disp.(blue), available
300R
300 1.34 8000 1000
middle-disp.(red), available

600 0.64 4300 2500
high-disp.(V), not ready
600-650 VPH
600 0.63 6550 2500
high-disp.(G)

600 0.64 7700 2500
high-disp.(R), not ready

600 0.64 9200 2500
high-disp.(red), not ready
Echelle
175
0.63
6600 (2nd)
9300 (2nd)
2500
2500
Echelle; only single-order
mode is available

Overall Hardware

Scale 2m(d) X 2m(h)
Weight ~2t
Flexure on 1 hr. exp. ~1pix

Filter wheels

Three wheels

    Two tilted, below the grism for general use
    One parallel above the grism for Hartmann mask, etc.

7 filters each

Grism wheel

One wheel

    5 grisms at a time

Wheel rotation time

~10 sec for changing to adjacent filter/grism. <1 min. to changing to any

Shutter

Movable plate within the collimated beam

Minimum exposure of shutter 0.3 sec, however >~1 sec exposure is recommended for better accuracy

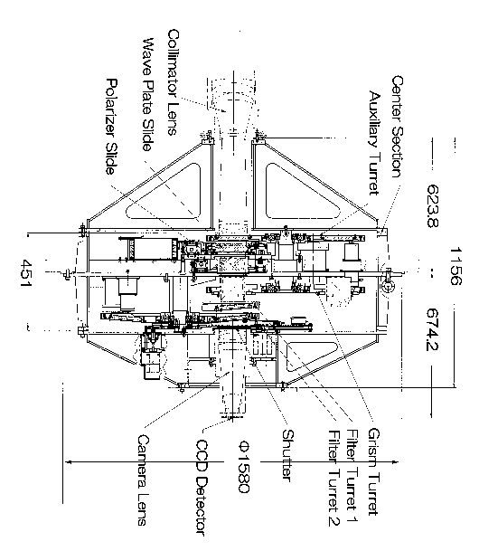
Mechanical Layout
around center section

turret.gif


MOS (Multi-Object Spectroscopy) Hardware

Method fixed slit mask plate
Max # of plates at a time 10 in total, 2-3 are reserved for long slits and Hartmann tests
Typical slit # per a plate 100, depending on grisms/filters used
Slit figure arbitrary typical slit width is 100micron
Slit cutting diode-pumped YAG laser (installed at Summit)
Slit parallelism less than 10micron
Straightness of slit edges less than 10micron
Positioning accuracy of slit center less than 3micron
Time for replacing plates ~30-60 sec, depending the slit position in slit stocker
Default slit plates long-slit masks, grid masks for Hartmann test

Strokes & Control precision of each component
(POL mode is not available yet)

Component strokes precision
Supplemental filter wheel 360 deg 90"
Wave plate wheel 360 deg 90"
Wave plate rotation 360 deg 90"
Polarizer slide 200-300mm 0.1mm
Grism wheel 360 deg 30"
Filter wheel 360 deg 600"
Dewar adjustments (XY direction) 1mm 3micron
Dewar adjustments (Z direction) 1mm 5micron

Control System

Element modules 17 local control units
1 on-board WS, local control software
1 (or 2) control-building WS
    Multi-process RPC-connected softwares for multitasked operating
    GUI based interface
    Connected to SOSS system